EN | RU
HEAVY DUTY
Check Valve

Non-Slam Check Valve

flanged
PN10 / PN16 / Class 125/150 / Class 150
GGG50
DN50-DN500
Inquiry Now
Customized Components Supported
Professional OEM/ODM services for valve components. We manufacture according to your technical drawings and material requirements with high precision.

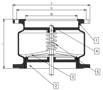
Technical Drawing

Technical Drawing ⊕ Click to Enlarge

Dimensions & Tolerance

DNLPN10PN16
D-10kg\ D1N-dD-16kgD1N-d
DN50123 165 125 4-19165 125 4-19
DN65135 185 145 4-191185 145 4-191
DN80156 200 160 8-19200 160 8-19
DN100170 220 180 8-19220 180 8-19
DN125185 250 210 8-19250 210 8-19
DN150210 285 240 8-23285 240 8-23
DN200260 340 295 8-23340 295 12-23
DN250285 395 350 12-23405 355 12-28
DN300295 445 400 12-23460 410 12-28
DN350330 505 460 16-23520 470 16-28
DN400340 565 515 16-28580 525 16-31
DN450400 615 565 20-28640 585 20-31
DN500446 670 620 20-28715 650 20-34
× Full Technical Drawing

GET IN TOUCH

XVS Valve