HEAVY DUTY
Check Valve

DIN Standard Rubber Disc Check Valve

flanged
PN10 / PN16 / Class 125/150 / Class 150
GGG50
DN50-DN800
Inquiry Now
Customized Components Supported
Professional OEM/ODM services for valve components. We manufacture according to your technical drawings and material requirements with high precision.

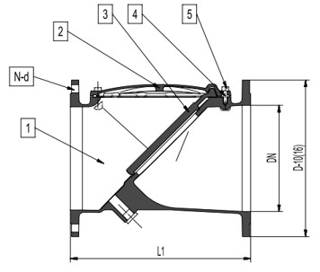
Technical Drawing

Technical Drawing ⊕ Click to Enlarge

Dimensions & Tolerance

DNL1PN10PN16
D-10kg\ D¹N-dD-16kgD1N-d
DN50205 165 125 4-19165 125 4-19
DN65225 185 145 4-19185 145 4-19
DN80245 200 160 8-19200 160 8-19
DN100295 220 180 8-19220 180 8-19
DN125298 250 210 8-19250 210 8-19
DN150360 285 240 8-23285 240 8-23
DN200475 340 295 8-23340 295 12-23
DN250495 390 350 12-23405 355 12-28
DN300555 440 400 12-23460 410 12-28
DN350610 500 460 16-23520 470 16-26
DN400660 565 515 16-26580 525 16-30
DN450700 615 565 20-28640 585 20-31
DN500750 670 620 20-28715 650 20-34
DN600900 780 725 20-31840 770 20-37
DN7001095 895 794 24-31910 794 24-37
DN8001195 1015 901 24-341025 901 24-40
× Full Technical Drawing

GET IN TOUCH

XVS Valve