HEAVY DUTY
Gate Valve
Inquiry Now
BS 5163 Resilient Seated Gate Valve (NRS)
flanged
PN10 / PN16
GGG50
DN50-DN600
Customized Components Supported
Professional OEM/ODM services for valve components. We manufacture according to your technical drawings and material requirements with high precision.
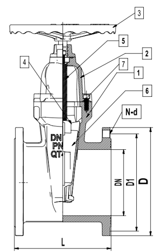
Technical Drawing
⊕ Click to Enlarge
Dimensions & Tolerance
| DN | L | Flange O.D. | PN10 | Flange O.D. | PN16 | ||
|---|---|---|---|---|---|---|---|
| D-10kg | D1 | N-d | D-16kg | D1 | N-d | ||
| DN50 | 178 | 160 | 125 | 4-19 | 160 | 125 | 4-19 |
| DN65 | 190 | 180 | 145 | 4-191 | 180 | 145 | 4-191 |
| DN80 | 203 | 195 | 160 | 8-19 | 195 | 160 | 8-19 |
| DN100 | 229 | 215 | 180 | 8-19 | 215 | 180 | 8-19 |
| DN125 | 254 | 245 | 210 | 8-19 | 245 | 210 | 8-19 |
| DN150 | 267 | 280 | 240 | 8-23 | 280 | 240 | 8-23 |
| DN200 | 292 | 340 | 295 | 8-23 | 335 | 295 | 12-23 |
| DN250 | 330 | 395 | 350 | 12-23 | 405 | 355 | 12-28 |
| DN300 | 356 | 400 | 400 | 12-23 | 460 | 410 | 12-28 |
| DN350 | 381 | 505 | 460 | 16-23 | 520 | 470 | 16-28 |
| DN400 | 406 | 565 | 515 | 16-28 | 580 | 525 | 16-31 |
| DN450 | 432 | 615 | 565 | 20-28 | 640 | 585 | 20-31 |
| DN500 | 457 | 670 | 620 | 20-28 | 715 | 650 | 20-34 |
| DN600 | 508 | 780 | 725 | 20-31 | 840 | 770 | 20-37 |